往复锯
的有关信息介绍如下:
《往复锯》是苏州宝时得电动工具有限公司于2002年11月18日申请的专利,该专利的申请号为022586288,公告号为CN2576394,公告日为2003年10月1日,发明人是王海清。
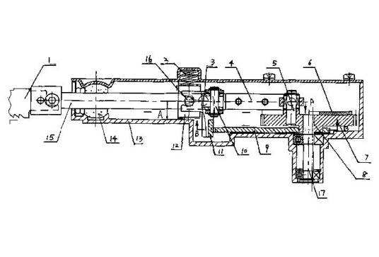
《往复锯》包括外壳、往复杆、传动齿轮、连杆、拨叉、抬刀板,所述的连杆的前端部与往复杆的后端部可转动连接,所述的抬刀板与外壳枢轴连接,所述的抬刀板与拨叉的前端部相接触,所述的抬刀板还与设置在往复杆的后端部的滑动轴承相接触,所述的第一偏心轴的轴心、传动齿轮的传动齿轮的轴心、第二偏心轴的轴心三者的连线所构成的夹角α为钝角。在连杆向前运动时,拨叉会向后运动,相反方向的运动能部分地抵消由于往复杆的往复运动而产生的震动。
2007年,《往复锯》专利获得第五届江苏省专利项目奖优秀奖。
(概述图为《往复锯》摘要附图 )
想要了解更多“往复锯”的信息,请点击:往复锯百科



