土方调配图
的有关信息介绍如下:
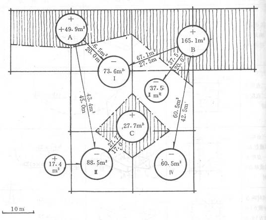
为合理调配路基土方而制成的计算图表。纵坐标代表填、挖方面积,横坐标代表线路百尺标及里程。方法是按该段挖、填方及其他工程实际情况,划分为若干个挖方区和若干个填方区,各区需要调用的挖、填方数量和移动方,均按土质不同情况标出并分段列表。原则上尽量移挖作填、由近及远,远距离以不超过最大经济运距为宜。全段挖、填、借平衡后,多余的土石方可以弃于指定的范围内。
想要了解更多“土方调配图”的信息,请点击:土方调配图百科

为合理调配路基土方而制成的计算图表。纵坐标代表填、挖方面积,横坐标代表线路百尺标及里程。方法是按该段挖、填方及其他工程实际情况,划分为若干个挖方区和若干个填方区,各区需要调用的挖、填方数量和移动方,均按土质不同情况标出并分段列表。原则上尽量移挖作填、由近及远,远距离以不超过最大经济运距为宜。全段挖、填、借平衡后,多余的土石方可以弃于指定的范围内。
想要了解更多“土方调配图”的信息,请点击:土方调配图百科