一种LED支架及具有该支架的LED
的有关信息介绍如下:
《一种LED支架及具有该支架的LED》是深圳市聚飞光电股份有限公司于2011年5月5日申请的专利,该专利的公布号为CN102185086A,授权公布日为2011年9月14日,申请号为2011101156456,发明人是孙平如、邢其彬、侯利。
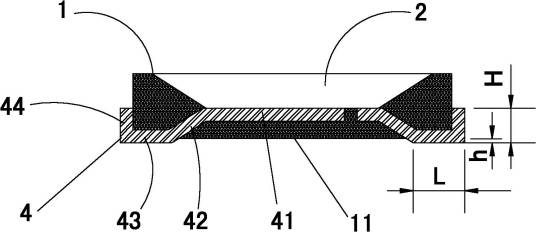
《一种LED支架及具有该支架的LED》公开了一种LED支架和具有该LED支架的LED,LED支架包括两引脚和具有腔体的载体,腔体底部设有两个金属区,每个引脚均包括依次相连的金属区连接部、倾斜部、焊接部和分光测试部,金属区连接部铺设在一个金属区下方且水平延伸至腔体底部与该金属区相应的一端,倾斜部自腔体底部的一端穿过载体倾斜延伸后露出载体的背面,焊接部沿载体的背面向载体相应的端面水平延伸后弯折形成贴附在该端面的分光测试部。该发明通过改变引脚的设置方式节约了支架生产成本,通过增加分光测试部尺寸提高了分光测试的准确性,SMT贴装时焊接部和分光测试部一起焊接在PCB表面,增大了PCB与引脚的有效接触和散热面积从而提高了LED可靠性。
2018年12月20日,《一种LED支架及具有该支架的LED》获得第二十届中国专利优秀奖。
(概述图为《一种LED支架及具有该支架的LED》摘要附图 )
想要了解更多“一种LED支架及具有该支架的LED”的信息,请点击:一种LED支架及具有该支架的LED百科



