一种双吊钩组结构
的有关信息介绍如下:
《一种双吊钩组结构》是芜湖起重运输机器股份有限公司于2018年7月12日申请的发明专利,该专利申请号为2018210979197,公布号为CN208648551U,专利公布日为2019年03月26日,发明人是朱家旺、李静。
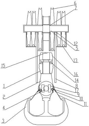
《一种双吊钩组结构》包括吊钩横梁,所述吊钩横梁下端设置有吊钩叉子,所述吊钩叉子下端设置有板式双钩,所述吊钩叉子内设置有吊钩轴,所述吊钩横梁上端设置有滑轮机构,所述滑轮机构包括滑轮轴和滑轮,所述滑轮设置在滑轮轴上,所述滑轮两侧设置有间隔环,所述滑轮上设置有侧板,所述吊钩横梁连接在侧板上。通过使吊钩横梁与滑轮轴合成一体,结构简单,零件数少,整体尺寸较小,能充分利用起升高度是有利的,采用受力对称的双钩,适合起重量大的物品吊装,同时加大了侧板长度,在吊钩上安装了自动回弹的安全档板,使的安全性更好,更加适应市场需要。
2020年7月17日,《一种双吊钩组结构》获得安徽省第七届专利奖优秀奖。
(概述图为《一种双吊钩组结构》的摘要附图)
想要了解更多“一种双吊钩组结构”的信息,请点击:一种双吊钩组结构百科



