EOF法
的有关信息介绍如下:
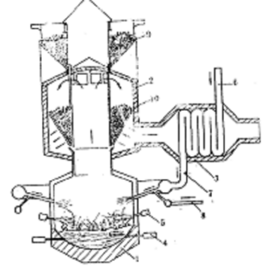
一种能源优化炉炼钢方法,此法首先在南非试验成功,1982年5月在巴西的帕因斯钢铁公司的平炉车间建成1座28tEOF中间试验设备,1985年底第2座EOF建成投产,取代了该厂年产40万t的3座平炉。至1988年,全世界投产或正在建设的EOF共有5座,分布在巴西、美国和印度。
想要了解更多“EOF法”的信息,请点击:EOF法百科

一种能源优化炉炼钢方法,此法首先在南非试验成功,1982年5月在巴西的帕因斯钢铁公司的平炉车间建成1座28tEOF中间试验设备,1985年底第2座EOF建成投产,取代了该厂年产40万t的3座平炉。至1988年,全世界投产或正在建设的EOF共有5座,分布在巴西、美国和印度。
想要了解更多“EOF法”的信息,请点击:EOF法百科